中央人民政府
陕西省人民政府
汉中市人民政府
网站支持IPv6
繁体
登录
退出
注册
长者模式
网站无障碍
首页
走进宁强
新闻中心
政府信息公开
政务服务
互动交流
专题专栏
首页
|
走进宁强
|
新闻中心
|
政府信息公开
|
政务服务
|
互动交流
|
专题专栏
当前位置:
汉中市宁强县政府
>
社会公益事业
>
灾害救援
>
应急预案
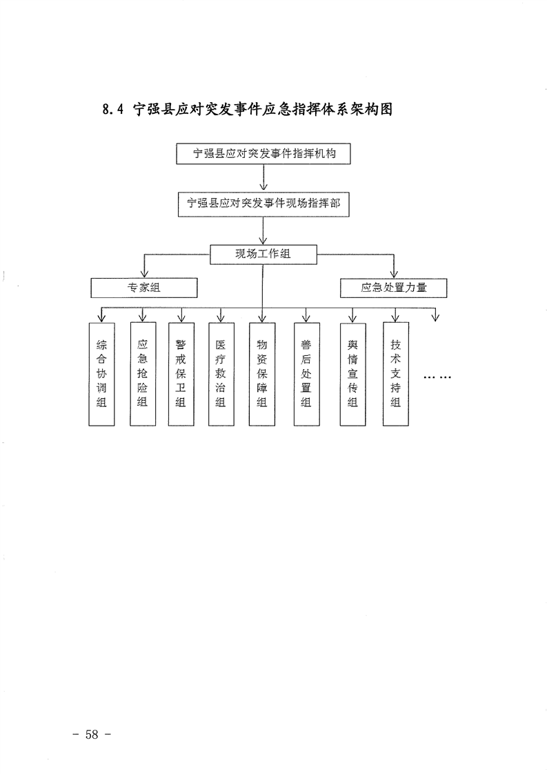
关于印发宁强县突发事件总体应急预案的通知
发布时间:
2023-05-24 11:05:00
来源:
宁强县应急管理局
作者:
访问量:
分享:
索引号
7700157190/2025-000084
发布日期
2023-05-24
发布机构
宁强县应急管理局
内容概述
索引号码:7700157190/2025-000084
发布时间:2023-05-24 11:05:00
发布机构:宁强县应急管理局
访问量:
相关稿件
宁强发布
扫一扫
打开宁强发布微博
爱宁强app
爱宁强app
微信矩阵
返回首页
返回顶部
关闭